PCI boards in the Octane workstation install into a container that slides into the workstation. The container, the PCI module, is small and lightweight, and you can install PCI boards away from the chassis loction. This chapter contains information on installing and removing PCI boards and the PCI module.
The following topics are covered in this chapter
The PCI module is an optional module of the Octane workstation. If your Octane workstation does not have a PCI module, a blank panel covers the opening for the PCI module.
If your Octane workstation has a PCI module installed, it protrudes from the rear of the workstation. See Figure 4-2.
Total power for the PCI module (the sum of power for all boards from all power supply rails) must not exceed 45.0W (average 15.0W per board).
The Octane PCI module is a 5V system environment.
See Appendix C, “Technical Specifications,” for more information about power specifications for the PCI module.
The PCI module supports full- or half-size boards. A maximum of three boards can be installed in the PCI module. The PCI module allows installation of PCI boards that have extra long I/O connectors. Possible board combinations are
two full-size boards and one half-size board.
one full-size board and two half-size boards.
three half-size boards.
To install or remove a PCI board, power off the Octane workstation, remove any cables attached to the PCI module, and attach a wrist strap.
| Caution: The components inside the Octane workstation are extremely sensitive to static electricity; you must wear the wrist strap while replacing parts. |
Unwrap the first two folds of the band and wrap the exposed adhesive side firmly around your wrist. (Step A)
Unroll the rest of the band and peel the liner from the copper foil at the opposite end. (Step B)
Attach the copper foil to the module you are removing: system module, XIO module, frontplane, or PCI module. Otherwise, use any convenient and exposed electrical ground, such as a metal part of the Octane workstation. (Step C)
Installing or removing PCI boards requires removing the PCI module from the workstation.
| Caution: The compression connector on the back of the PCI module is delicate and easily damaged. Do not touch or bump the gold area of the compression connector. |
See Appendix B, for information about and care of the compression connectors.
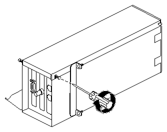
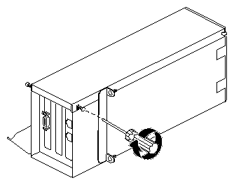
Loosen the two captive screws that secure the PCI module to the Octane workstation until they are disconnected from the chassis.
Pull the release lever toward you and to the right.
Slide the PCI module from the chassis. Place it on a dry, antistatic surface. Your desktop works well.
Place a cap on the compression connector on the back of the PCI module. (Extra compression connector caps came with the workstation.)
If the PCI module is out of the workstation, go to step 1. If your PCI module is still in the workstation, go to “Preparing the Workstation to Install or Remove PCI Boards” and follow the instructions through removing the PCI module.
Turn the PCI module as shown in Figure 4-11.
Loosen the screws holding the PCI module door closed, but do not remove them.
Pull the PCI module door up and off. The release hinge allows the module door to slide up and off.
PCI physical slots and slots identified in software have the same designation. See Figure 4-13.
The top slot is PCI ID #1.
The middle slot is PCI ID #2.
The bottom (half-sized) slot is PCI ID #3.
If you have not already done so, turn to “Preparing the Workstation to Install or Remove PCI Boards” for instructions on powering off the Octane workstation through removing the PCI module. Then return here for instructions on installing a PCI board.
| Caution: PCI boards are extremely sensitive to static electricity: You must wear the wrist strap while removing or installing PCI boards. The wrist strap prevents the flow of static electricity, which could damage the PCI board. |
Remove the screw from the blank I/O panel that is in the slot in which you wish to install the PCI board.
Remove the blank I/O panel by pulling it up. Use the metal knob on the side of the blank panel to help lift it out of the PCI module.
Keep the I/O blank panel. If you later remove a PCI board and do not replace it, you must reinstall the blank panel.
Insert the PCI board into the connector in the PCI module. Push gently but firmly until the PCI board snaps into place. If you have a board with an extra-long connector which prevents you from inserting the board, skip to step 6.
Insert and tighten the screw that holds the PCI board to the PCI module.
Fit the hinged door to the PCI module.
Tighten the I/O door screws.
Go to “Installing the PCI Module”.
If there are boards installed in the PCI module, and you want to open the I/O door, remove the screws holding the boards to the I/O to allow the door to open.
Do not remove any blank I/O panels. They are directly attached to the door and open with it.
If you have a board with an extra-long connector, completely remove the screws that hold the door to the PCI module.
Slide the I/O expansion door open.
Insert the PCI board into the connector in the PCI module. Press gently but firmly until the board snaps into place.
Close the I/O door.
Insert the screws that hold closed the I/O panel door.
Insert the screws that holds all PCI boards to the I/O panel door.
Fit the hinged door to the PCI module.
Tighten the module door screws.
Go to “Installing the PCI Module”.
If you have not already done so, go to “Preparing the Workstation to Install or Remove PCI Boards” and follow the instructions from powering off the workstation through opening the PCI module. Then return here for instructions on removing the PCI board.
Remove the screw holding the PCI board to the module.
If you have a board with an extra-long connector, skip to step 5. Otherwise, go to step 3.
Grasp the PCI board on the top edge to extract it.
Pull up until the board releases. The board may be difficult to remove because it fits snugly into the connector in the PCI module.
If it is very difficult to remove, go to step 5, open the I/O door expansion device, and grasp the PCI board on the top and edge of the card and pull it up and out.
Remove the screws holding any other PCI boards to the module so that the I/O door can swing open.
Remove the screws holding the I/O to the PCI module.
Slide the I/O door open.
Opening the I/O door allows the I/O connector at the end of the PCI board clearance so that the board can be easily removed and provides space for gripping the edges of the two boards that are close to the sides of the PCI module.
Grasp the PCI board on the top edge to extract it.
Pull up until the board releases. The board may be difficult to remove because it fits snugly into the connector in the PCI module.
To install a PCI board, go to “Installing a PCI Board”.
If you are not installing another PCI board in the same slot, insert an I/O blank panel. Go to the next step.
Close the I/O door.
Insert, but do not tighten, the screws holding the I/O door to the PCI module.
Install an I/O blank panel in the I/O door in place of the PCI board. Use the knobs on the back of the blank panel to position it.
| Note: Be sure to place the tip of the I/O blank panel inside the groove at the bottom of the PCI module. Do not position the tip outside the groove. |
Attach the blank panel to the I/O door with a screw.
Fit the hinged door to the PCI module.
Tighten the door screws.
Go to “Installing the PCI Module”.
If you are installing a PCI module for the first time, you need to remove the blank panel.
Using a Phillips screwdriver, remove the screws from the blank panel.
Using a flathead screwdriver, place the tip of the screwdriver in the slot at the top and middle of the blank panel.
Pull the panel outward and lift it up and out.
| Note: Save the blank panel for reuse, should you ever need to remove the PCI cage. Either the PCI cage or the blank panel must be in place at all times. |
Remove the cap from the compression connector on the back of the PCI module, and save it for future use.
Place the PCI module in the chassis and push it until the tabs are flush with the chassis.
Close the release lever by pushing it to the left until it is parallel with the PCI module.
Tighten the captive screws that hold the PCI module to the chassis.
Connect any PCI cables to the PCI connectors.
Remove the wrist strap.
You have finished replacing the PCI module and are ready to power on the Octane workstation.
Face the front of the workstation.
Connect the workstation's power cord to an electrical outlet. (Step A)
Press the power button to power on the Octane workstation. (Step B)
Press the monitor power switch to power on the monitor. (Step C)
You can verify your PCI board installation. See the Octane PCI Module Installation Guide for specific instructions on checking the installation.
If your PCI board does not appear to be functioning, repeat the installation procedure.
If the PCI board still appears to not function, call your authorized service representative.