Chapter 4. Installing and Removing PCI Boards

PCI boards in the Octane workstation install into a container that slides into the workstation. The container, the PCI module, is small and lightweight, and you can install PCI boards away from the chassis loction. This chapter contains information on installing and removing PCI boards and the PCI module.

The following topics are covered in this chapter

The PCI module is an optional module of the Octane workstation. If your Octane workstation does not have a PCI module, a blank panel covers the opening for the PCI module.

Figure 4-2. Workstation With the Optional PCI Module

Figure 4-2 Workstation With the Optional PCI Module

If your Octane workstation has a PCI module installed, it protrudes from the rear of the workstation. See Figure 4-2.

About the PCI Module and Boards

Total power for the PCI module (the sum of power for all boards from all power supply rails) must not exceed 45.0W (average 15.0W per board).

The Octane PCI module is a 5V system environment.

See Appendix C, “Technical Specifications,” for more information about power specifications for the PCI module.

The PCI module supports full- or half-size boards. A maximum of three boards can be installed in the PCI module. The PCI module allows installation of PCI boards that have extra long I/O connectors. Possible board combinations are

  • two full-size boards and one half-size board.

  • one full-size board and two half-size boards.

  • three half-size boards.

Preparing the Workstation to Install or Remove PCI Boards

Figure 4-3. Powering Off the Octane Workstation

Figure 4-3 Powering Off the Octane Workstation

To install or remove a PCI board, power off the Octane workstation, remove any cables attached to the PCI module, and attach a wrist strap.

  1. Open the cover and push the power button to power off the Octane workstation. (Step A)

  2. Unplug the power cord from the electrical outlet. (Step B)

  3. Press the monitor power switch to turn off the monitor. (Step C)

  4. Face the rear of the workstation.

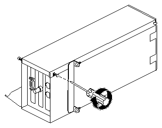
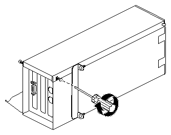
    Figure 4-4. Removing the Cables From the PCI Module

    Figure 4-4 Removing the Cables From the PCI Module

  5. Remove any cables from the PCI module.

Attaching the Wrist Strap


Caution: The components inside the Octane workstation are extremely sensitive to static electricity; you must wear the wrist strap while replacing parts.

Figure 4-5. Attaching the Wrist Strap to the Chassis

Figure 4-5 Attaching the Wrist Strap to the Chassis

  1. Unwrap the first two folds of the band and wrap the exposed adhesive side firmly around your wrist. (Step A)

  2. Unroll the rest of the band and peel the liner from the copper foil at the opposite end. (Step B)

  3. Attach the copper foil to the module you are removing: system module, XIO module, frontplane, or PCI module. Otherwise, use any convenient and exposed electrical ground, such as a metal part of the Octane workstation. (Step C)

Removing the PCI Module

Figure 4-6. Identifying the Compression Connector on the PCI Module

Figure 4-6 Identifying the Compression Connector on the PCI Module

Installing or removing PCI boards requires removing the PCI module from the workstation.


Caution: The compression connector on the back of the PCI module is delicate and easily damaged. Do not touch or bump the gold area of the compression connector.

See Appendix B, for information about and care of the compression connectors.

Figure 4-7. Removing the Screws From the PCI Module

Figure 4-7 Removing the Screws From the PCI Module

  1. Loosen the two captive screws that secure the PCI module to the Octane workstation until they are disconnected from the chassis.

    Figure 4-8. Opening the Release Lever

    Figure 4-8 Opening the Release Lever

  2. Pull the release lever toward you and to the right.

    Figure 4-9. Sliding the PCI Module From the Chassis

    Figure 4-9 Sliding the PCI Module From the Chassis

  3. Slide the PCI module from the chassis. Place it on a dry, antistatic surface. Your desktop works well.

    Figure 4-10. Installing a Cap on the Compression Connector

    Figure 4-10 Installing a Cap on the Compression Connector

  4. Place a cap on the compression connector on the back of the PCI module. (Extra compression connector caps came with the workstation.)

Opening the PCI Module

Figure 4-11. Loosening the Screws on the PCI Module

Figure 4-11 Loosening the Screws on the PCI Module

If the PCI module is out of the workstation, go to step 1. If your PCI module is still in the workstation, go to “Preparing the Workstation to Install or Remove PCI Boards” and follow the instructions through removing the PCI module.

  1. Turn the PCI module as shown in Figure 4-11.

  2. Loosen the screws holding the PCI module door closed, but do not remove them.

    Figure 4-12. Opening and Removing the PCI Module Door

    Figure 4-12 Opening and Removing the PCI Module Door

  3. Pull the PCI module door up and off. The release hinge allows the module door to slide up and off.

Identifying a PCI Slot

Figure 4-13. Identifying PCI Slots

Figure 4-13 Identifying PCI Slots

PCI physical slots and slots identified in software have the same designation. See Figure 4-13.

  • The top slot is PCI ID #1.

  • The middle slot is PCI ID #2.

  • The bottom (half-sized) slot is PCI ID #3.

Installing a PCI Board

If you have not already done so, turn to “Preparing the Workstation to Install or Remove PCI Boards” for instructions on powering off the Octane workstation through removing the PCI module. Then return here for instructions on installing a PCI board.

Figure 4-14. Removing the Blank I/O Panel Screw

Figure 4-14 Removing the Blank I/O Panel Screw


Caution: PCI boards are extremely sensitive to static electricity: You must wear the wrist strap while removing or installing PCI boards. The wrist strap prevents the flow of static electricity, which could damage the PCI board.


  1. Remove the screw from the blank I/O panel that is in the slot in which you wish to install the PCI board.

    Figure 4-15. Removing the Blank I/O Panel

    Figure 4-15 Removing the Blank I/O Panel

  2. Remove the blank I/O panel by pulling it up. Use the metal knob on the side of the blank panel to help lift it out of the PCI module.

  3. Keep the I/O blank panel. If you later remove a PCI board and do not replace it, you must reinstall the blank panel.

    Figure 4-16. Inserting a PCI Board Into the PCI Module

    Figure 4-16 Inserting a PCI Board Into the PCI Module

  4. Insert the PCI board into the connector in the PCI module. Push gently but firmly until the PCI board snaps into place. If you have a board with an extra-long connector which prevents you from inserting the board, skip to step 6.

    Figure 4-17. Inserting the Board Screw

    Figure 4-17 Inserting the Board Screw

  5. Insert and tighten the screw that holds the PCI board to the PCI module.

    Figure 4-18. Placing the Door on the PCI Module

    Figure 4-18 Placing the Door on the PCI Module

  6. Fit the hinged door to the PCI module.

    Figure 4-19. Tightening the PCI Module Door Screws

    Figure 4-19 Tightening the PCI Module Door Screws

  7. Tighten the I/O door screws.

Go to “Installing the PCI Module”.

Opening the I/O Door for Extra-Long Connectors

Figure 4-20. Removing the Screws Holding Other Boards to the I/O Door

Figure 4-20 Removing the Screws Holding Other Boards to the I/O Door

  1. If there are boards installed in the PCI module, and you want to open the I/O door, remove the screws holding the boards to the I/O to allow the door to open.

    Do not remove any blank I/O panels. They are directly attached to the door and open with it.

    Figure 4-21. Removing the PCI Module Door Screws

    Figure 4-21 Removing the PCI Module Door Screws

  2. If you have a board with an extra-long connector, completely remove the screws that hold the door to the PCI module.

    Figure 4-22. Opening the I/O Door

    Figure 4-22 Opening the I/O Door

  3. Slide the I/O expansion door open.

    Figure 4-23. Inserting a PCI Board With an Extra-long Connector

    Figure 4-23 Inserting a PCI Board With an Extra-long Connector

  4. Insert the PCI board into the connector in the PCI module. Press gently but firmly until the board snaps into place.

    Figure 4-24. Closing the I/O Door

    Figure 4-24 Closing the I/O Door

  5. Close the I/O door.

    Figure 4-25. Inserting and Tightening the I/O Door Screws

    Figure 4-25 Inserting and Tightening the I/O Door Screws

  6. Insert the screws that hold closed the I/O panel door.

    Figure 4-26. Replacing the I/O Panel Screw

    Figure 4-26 Replacing the I/O Panel Screw

  7. Insert the screws that holds all PCI boards to the I/O panel door.

    Figure 4-27. Reconnecting the PCI Module Door

    Figure 4-27 Reconnecting the PCI Module Door

  8. Fit the hinged door to the PCI module.

    Figure 4-28. Tightening the Screws of the PCI Module Door

    Figure 4-28 Tightening the Screws of the PCI Module Door

  9. Tighten the module door screws.

Go to “Installing the PCI Module”.

Removing a PCI Board

Figure 4-29. Removing the Screw

Figure 4-29 Removing the Screw

If you have not already done so, go to “Preparing the Workstation to Install or Remove PCI Boards” and follow the instructions from powering off the workstation through opening the PCI module. Then return here for instructions on removing the PCI board.

  1. Remove the screw holding the PCI board to the module.

  2. If you have a board with an extra-long connector, skip to step 5. Otherwise, go to step 3.

    Figure 4-30. Extracting the PCI Board

    Figure 4-30 Extracting the PCI Board

  3. Grasp the PCI board on the top edge to extract it.

  4. Pull up until the board releases. The board may be difficult to remove because it fits snugly into the connector in the PCI module.

    If it is very difficult to remove, go to step 5, open the I/O door expansion device, and grasp the PCI board on the top and edge of the card and pull it up and out.

    Figure 4-31. Opening the I/O Door

    Figure 4-31 Opening the I/O Door

  5. Remove the screws holding any other PCI boards to the module so that the I/O door can swing open.

    Figure 4-32. Removing the I/O Door Screws

    Figure 4-32 Removing the I/O Door Screws

  6. Remove the screws holding the I/O to the PCI module.

    Figure 4-33. Opening the I/O Door

    Figure 4-33 Opening the I/O Door

  7. Slide the I/O door open.

    Opening the I/O door allows the I/O connector at the end of the PCI board clearance so that the board can be easily removed and provides space for gripping the edges of the two boards that are close to the sides of the PCI module.

    Figure 4-34. Removing a PCI Board

    Figure 4-34 Removing a PCI Board

  8. Grasp the PCI board on the top edge to extract it.

  9. Pull up until the board releases. The board may be difficult to remove because it fits snugly into the connector in the PCI module.

    To install a PCI board, go to “Installing a PCI Board”.

    If you are not installing another PCI board in the same slot, insert an I/O blank panel. Go to the next step.

    Figure 4-35. Closing the I/O Door

    Figure 4-35 Closing the I/O Door

  10. Close the I/O door.

    Figure 4-36. Inserting the I/O Door Screws

    Figure 4-36 Inserting the I/O Door Screws

  11. Insert, but do not tighten, the screws holding the I/O door to the PCI module.

    Figure 4-37. Inserting the I/O Blank Panel

    Figure 4-37 Inserting the I/O Blank Panel

  12. Install an I/O blank panel in the I/O door in place of the PCI board. Use the knobs on the back of the blank panel to position it.


    Note: Be sure to place the tip of the I/O blank panel inside the groove at the bottom of the PCI module. Do not position the tip outside the groove.

    Figure 4-38. Attaching the Blank Panel to the I/O Door

    Figure 4-38 Attaching the Blank Panel to the I/O Door

  13. Attach the blank panel to the I/O door with a screw.

    Figure 4-39. Reconnecting the PCI Module Door

    Figure 4-39 Reconnecting the PCI Module Door

  14. Fit the hinged door to the PCI module.

    Figure 4-40. Replacing the Screws of the PCI Module Door

    Figure 4-40 Replacing the Screws of the PCI Module Door

  15. Tighten the door screws.

Go to “Installing the PCI Module”.

Installing the PCI Module

Figure 4-41. Removing the Screws From the Blank Panel

Figure 4-41 Removing the Screws From the Blank Panel

If you are installing a PCI module for the first time, you need to remove the blank panel.

  1. Using a Phillips screwdriver, remove the screws from the blank panel.

    Figure 4-42. Removing the Blank Panel

    Figure 4-42 Removing the Blank Panel

  2. Using a flathead screwdriver, place the tip of the screwdriver in the slot at the top and middle of the blank panel.

  3. Pull the panel outward and lift it up and out.


    Note: Save the blank panel for reuse, should you ever need to remove the PCI cage. Either the PCI cage or the blank panel must be in place at all times.

    Figure 4-43. Removing the Cap From the Compression Connector

    Figure 4-43 Removing the Cap From the Compression Connector

  4. Remove the cap from the compression connector on the back of the PCI module, and save it for future use.

    Figure 4-44. Replacing the PCI Module

    Figure 4-44 Replacing the PCI Module

  5. Place the PCI module in the chassis and push it until the tabs are flush with the chassis.

    Figure 4-45. Closing the Release Lever

    Figure 4-45 Closing the Release Lever

  6. Close the release lever by pushing it to the left until it is parallel with the PCI module.

    Figure 4-46. Replacing the PCI Screws

    Figure 4-46 Replacing the PCI Screws

  7. Tighten the captive screws that hold the PCI module to the chassis.

    Figure 4-47. Replacing the PCI Cables

    Figure 4-47 Replacing the PCI Cables

  8. Connect any PCI cables to the PCI connectors.

  9. Remove the wrist strap.

You have finished replacing the PCI module and are ready to power on the Octane workstation.

Go to “Powering On the Octane Workstation”.

Powering On the Octane Workstation

Figure 4-48. Replacing the Power Cord and Turning On the Octane Workstation

Figure 4-48 Replacing the Power Cord and Turning On the Octane Workstation

  1. Face the front of the workstation.

  2. Connect the workstation's power cord to an electrical outlet. (Step A)

  3. Press the power button to power on the Octane workstation. (Step B)

  4. Press the monitor power switch to power on the monitor. (Step C)

Verifying the PCI Board Installation

You can verify your PCI board installation. See the Octane PCI Module Installation Guide for specific instructions on checking the installation.

  1. If your PCI board does not appear to be functioning, repeat the installation procedure.

  2. If the PCI board still appears to not function, call your authorized service representative.